2021年1月に公知(国内)されたシマノの特許一覧
特開2021-006458 電動システム
特開2021-004012 自転車用ドライビングシステム、および、自転車用フロントスプロケット組立体
特開2021-003998 人力駆動車用の制御装置
特開2021-003955 人力駆動車用の制御装置および人力駆動車用の変速システム
電動システムの文献の中にこのような文章がある。
請求の範囲において、
【請求項12】
以下の図において
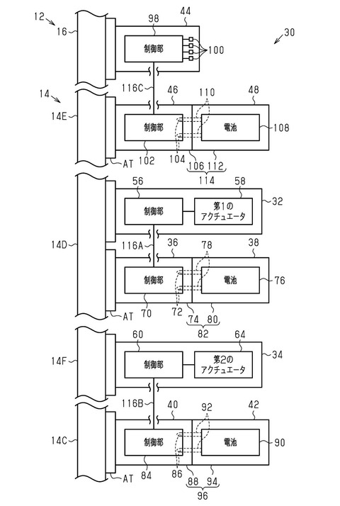
30:電動システム
32:フロントディレーラ(第1の電動変速機、第1の電動コンポーネント)
34:リアディレーラ(第2の電動変速機、第2の電動コンポーネント)
36:第1の無線通信部
38:第1の電源
40:第2の無線通信部
42:第2の電源
44:操作部
46:第3の無線通信部
48:第3の電源
と記載されている。
めちゃ長い文章といくつもの搭載方式が書かれている為、全てを読み切っているわけではないが、
通信規格については、
特開2021-006458 電動システム
特開2021-004012 自転車用ドライビングシステム、および、自転車用フロントスプロケット組立体
特開2021-003998 人力駆動車用の制御装置
特開2021-003955 人力駆動車用の制御装置および人力駆動車用の変速システム
電動システムの文献の中にこのような文章がある。
請求の範囲において、
【請求項1】
第1の電動コンポーネントと、
第2の電動コンポーネントと、を含み、
前記第1の電動コンポーネントは、フロントディレーラを含み、
前記第2の電動コンポーネントは、リアディレーラを含み、
前記フロントディレーラおよび前記リアディレーラは、記憶部に記憶される変速順序に基づいて変速する、電動システム。
【請求項7】
第1の電動コンポーネントと、
第2の電動コンポーネントと、
第1の記憶部と、を含み、
前記第1の記憶部は、前記第1の記憶部に記憶される情報が無線通信部を介して更新されるように構成され、
前記情報は、人力駆動車に設けられる前記第1の電動コンポーネントおよび前記第2の電動コンポーネントの少なくとも1つに関する情報を含む、電動システム。
【請求項11】
前記第1の電動コンポーネントおよび前記第2の電動コンポーネントの少なくとも1つに電気的に接続される無線通信部をさらに含む、請求項1から10のいずれか一項に記載の電動システム。
【請求項12】
前記無線通信部は、前記第1の電動コンポーネントに電気的に接続される第1の無線通信部、および、前記第2の電動コンポーネントに電気的に接続される第2の無線通信部の少なくとも1つを含む、請求項11に記載の電動システム。
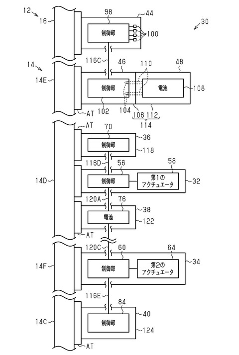
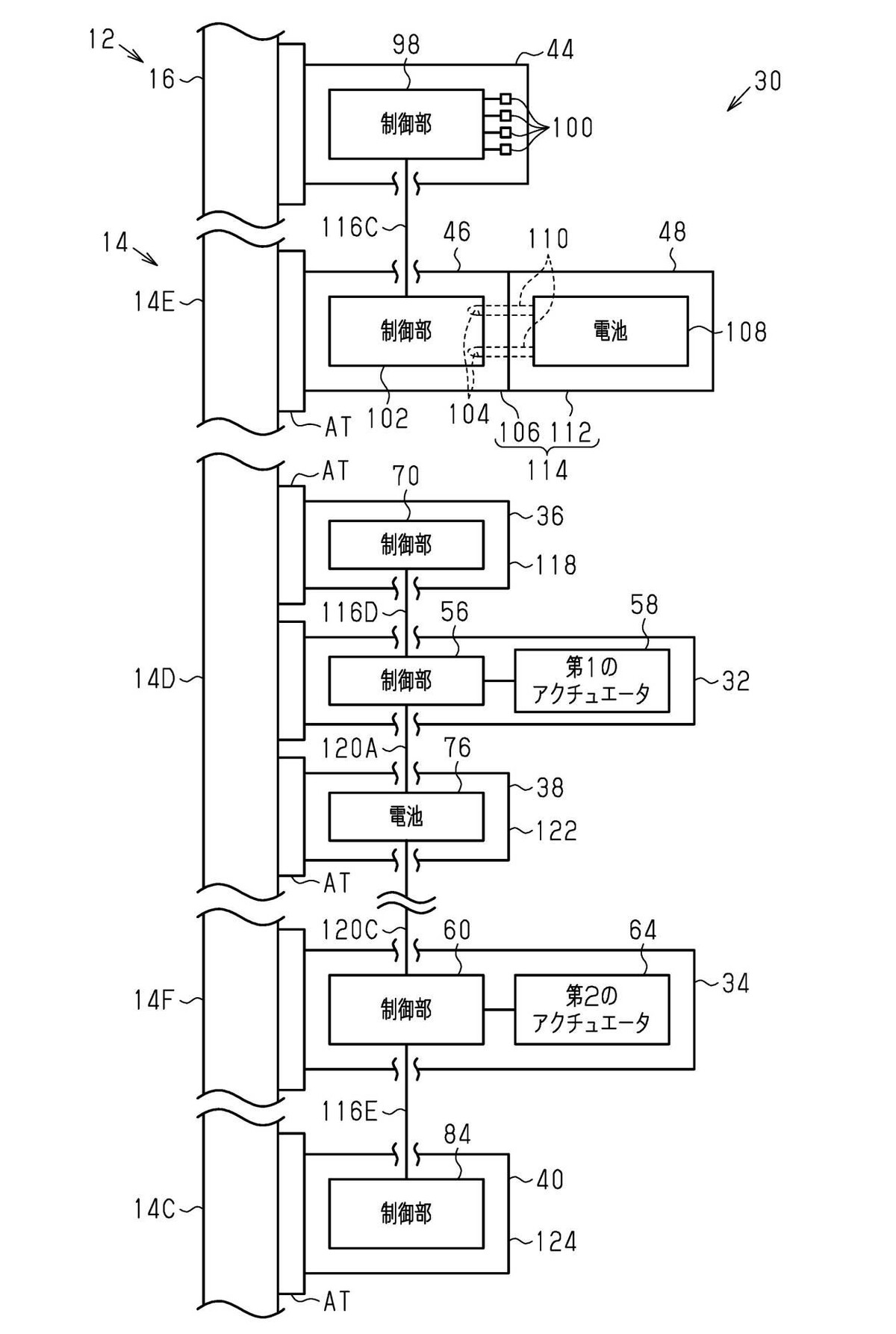
以下の図において
30:電動システム
32:フロントディレーラ(第1の電動変速機、第1の電動コンポーネント)
34:リアディレーラ(第2の電動変速機、第2の電動コンポーネント)
36:第1の無線通信部
38:第1の電源
40:第2の無線通信部
42:第2の電源
44:操作部
46:第3の無線通信部
48:第3の電源
と記載されている。
めちゃ長い文章といくつもの搭載方式が書かれている為、全てを読み切っているわけではないが、
通信規格については、
【0136】
図14を参照して、第1の記憶部136に記憶される情報の更新処理について説明する。更新処理においては、外部の装置Eと第1の無線通信部36とが通信可能に接続される。外部の装置Eと第1の無線通信部36とは、無線通信により通信可能に接続される。無線通信は例えばBluetooth(登録商標)、Wi-Fi(登録商標)、ANT+(登録商標)、または、NFC(Near Field Communication)の通信規格を採用することができる。なお、外部の装置Eと第1の無線通信部36とは、有線通信により通信可能に接続することもできる。また、外部の装置Eと第1の無線通信部36とが直接的に通信してもよく、外部の装置Eと第1の無線通信部36とが他の電気コンポーネントを介して間接的に通信してもよい。外部の装置Eは、デスクトップパソコン、ラップトップパソコン、タブレットパソコン、および、スマートフォンといった様々な電子デバイスを含む。他の電気コンポーネントの例としては、操作部44、サイクルコンピュータ、バッテリユニット、および、他の電動コンポーネントが挙げられる。電動コンポーネントは、例えば自転車10に入力される人力駆動力をアシストするモータを含むドライブユニット、電動シートポスト、および、電動サスペンション装置等が挙げられる。
いわゆる半無線での接続方法として、
いわゆる半無線での接続方法として、
【0186】
・各実施形態の第1の無線通信部36をリアディレーラ34と電気的に接続し、第2の無線通信部40をフロントディレーラ32と電気的に接続することもできる。この場合、リアディレーラ34は第1の電動変速機に相当し、フロントディレーラ32は第2の電動変速機に相当する。
内装ハブへの対応として、
内装ハブへの対応として、
【0188】
・各実施形態のリアディレーラ34を、ハブアセンブリ22に内蔵される電動変速機に変更することもできる。例えば、電動変速機は、複数のサンギアを備え、複数のサンギアの回転を選択して規制する規制機構を備える遊星歯車機構により構成することができる。



コメント
コメント一覧 (2)
ACK
が
しました